voor verwarmingsregeling

nu nog een zwarte doos:
in de loop van 2010 verwachten we de QUALITHERM op de markt te brengen

 

Uitgebreide beschrijving van de "QUALITHERM"

Deze nieuwe, gepatenteerde ontwikkeling betreft de installatie en besturing van een verwarmingssysteem voor het verwarmen van één of meer ruimtes in een woning/gebouw.
Een traditioneel verwarmingssysteem omvat in de regel:
  • een aanvoerleiding voor het aanvoeren van een verwarmde vloeistof (in de regel:water) vanuit de CV-ketel of stadsverwarming
  • een retourleiding voor het afvoeren van de afgekoelde vloeistof (water) terug naar de CV-ketel of stadsverwarming
  • op de aanvoer- en retourleidingen aangesloten verwarmingselementen, zoals radiatoren en/of vloerverwarmingsleidingen
  • een regeling van deze verwarmingselementen (bijv. thermostaatkraan op radiatoren of verdeler voor de vloerverwarming)

Onze nieuwe ontwikkeling kan in dergelijke bestaande situaties worden toegepast.

Een bestaande centrale verwarming (aangesloten op de CV-ketel of stadsverwarming) worden meestal door één centrale, in één van de ruimtes opgestelde, kamerthermostaat geregeld.
Hierop wordt de gewenste temperatuur in de betreffende ruimte worden ingesteld.
Deze thermostaat meet de luchttemperatuur in de ruimte en zendt een signaal naar een besturingseenheid van de CV-ketel of stadsverwarmingunit die vervolgens de CV voorziet van het gewenste warme water.
Afhankelijk vande ingestelde temperatuur stuurt de CV-ketel (of stadsverwarming) meer of minder warm water door de aanvoerleiding.

Een bezwaar van de bekende aanvoertemperatuurafhankelijke besturing van het verwarmingstoestel is dat de wijze van opwarming van de ruimte te wensen overlaat.
In veel gevallen treedt bijvoorbeeld een "overshoot" op, hetgeen betekent dat na het aansturen van het verwarmingstoestel op een gegeven moment een hogere temperatuur wordt bereikt dan ingesteld is (de 'overshoot'), zodat het verwarmingstoestel weer teruggeregeld of uitgeschakeld wordt.
Na verloop van tijd wordt de ruimtetemperatuur weer te laag, hetgeen een opgeregeld of herinschakeling van het verwarmingstoestel teweegbrengt.
Het telkens in- en uitschakelen van het verwarmingstoestel zorgt ervoor dat er veelal sprake is van een instabiele ruimtetemperatuur.
Dit alles betekent dat de gewenste, via de kamerthermostaat ingestelde ruimtetemperatuur niet op energetisch optimale wijze tot stand wordt gebracht, hetgeen een nodeloos verlies van warmte oplevert.
Een verder bezwaar is dat het klimaat in de ruimte wisselend is: op het ene moment is het eigenlijk te koud en op het volgende moment juist weer te warm ,als gevolg van de fluctuaties in de ruimtetemperatuur.

Door toepassing van de QUALITHERM zal een evenwichtiger klimaat worden gecreeerd, waarin deze hinderlijke tem,peratuursawisselingen voorkomen worden.
Naast een verhoging van het temperatuur-comfort zal door toepassing van de QUALIFLOOR een aanzienlijke energiebesparing worden gerealiseerd.

De QUALITHERM bestaat uit:

  • een warmtemeter die op de aanvoerleiding en/of retourleiding wordt aangesloten
  • een regeling die de toevoer van het water in de verwarmingsinstallatie regelt.

De regeling bestuurd door de warmtemeter regelt het, door de warmtemeter bepaalde vermogen van de vloeistofstroom in de verwarmingstoestellen.

Het gewenste temperatuurniveau in de verschillende ruimtes kan aanzienlijk worden verbeterd door gebruik te maken van het gedozseerd regelen van het vermogen van de door de aanvoerleiding stromende vloeistof.
Het door het verwarmingssysteem geleverde vermogen is verrassenderwijs een betere maat voor het in de betreffende ruimte optredende opwarmproces dan de temperatuur van de aanvoer en de afvoer.

Aangesloten op de stadsverwarming

Wanneer het QUALITHERM verwarmingssysteem bijvoorbeeld aangesloten is op stadsverwarming, wordt via de aanvoerleiding het warme water van een - door althans de gebruiker niet beïnvloedbare, maar soms wisselende temperatuur - aangevoerd.
Door het verhogen of verlagen van het debiet van het door de aanvoerleiding stromende warme water met behulp van de insteleenheid waarmee deze stroom wordt geregeld, (bijvoorbeeld d.m.v. een regelklep of dergelijke), kan de juiste hoeveelheid warmte aan de verwarmingselementen worden toegevoerd om de gewenste ruimtetemperatuur te bereiken.
In een dergelijk verwarmingssysteem is in de meeste gevallen reeds een warmtemeter (die tevens de afgenomen hoeveelheid warmte waarop de factuur is gebaseerd) aanwezig.
Daarom is de warmtemeter bij voorkeur een warmtemeter die voor dat doel dient en is ingericht voor het bepalen van het vermogen van de door de leiding gestuurde verwarmingsvloeistof en het afgeven van een indicatie van de over een bepaalde periode geleverde warmte.

Dergelijke warmtemeters worden gebruikt om de door een gebruiker in een bepaalde periode verbruikte warmte te bepalen en te verrekenen met de energieleverancier.
Deze warmtemeters zijn over het algemeen vrij nauwkeurig zodat de hoeveelheid verbruikte warmte met een kleine foutmarge bepaald kan worden.
Door bij het bepalen van het vermogen door de aanvoerleiding gebruik te maken van de reeds aanwezige of althans nog niet aanwezige, maar wel benodigde warmtemeter die ook als basis dient voor het verbruik, kan een aanvullende warmtemeter voor het aansturen van het verwarmingssysteem achterwege blijven, hetgeen een aanzienlijke vereenvoudiging en een daarmee samenhangende kostenbesparing van de besturingsinrichting met zich meebrengt.

Bij voorkeur is de warmtemeter geschikt voor het bepalen van het vermogen in de aanvoerleiding en het vermogen in de retourleiding.
Door zowel het vermogen in de aanvoerleiding als het vermogen in de retourleiding te meten, kan het geleverde vermogen nauwkeuriger bepaald worden.

De warmtemeter waarop het systeem is gebaseerd zal bij voorkeur voorzien zijn van:

  • een stroommeter voor het bepalen van de hoeveelheid geleverde vloeistof (warm warter) in de aanvoerleiding;
  • een temperatuursensor voor het bepalen van de temperatuur van het warme water in de aanvoerleiding
  • een rekeneenheid voor het aan de hand van de bepaalde temperatuur en het bepaalde debiet (gleverde hoeveelheid) berekenen van het vermogen door de leiding.

Deze meter, die de hoeveelheid geleverde vloeistof van bepaalde temperatruur bepaalt, bestaat in principe uit een snelheidsmeter voor het meten van de snelheid van het in de leiding stromende warme water.
Aan de hand van de snelheid en de vooraf bekende doorsnede van de leiding is direct de hoeveelheid geleverde warm water in de leiding af te leiden.
Aan de hand van het aldus afgeleide vloeistofdebiet en de temperatuur van de vloeistof kan de rekeneenheid eenvoudig het vermogen door de betreffende leiding bepalen.

In het geval dat zowel het vermogen in de aanvoer leiding als in de retourleiding moet worden bepaald, worden temperatuursensoren zowel in de aanvoerleiding als in de retourleiding aangebracht, en kan volstaan worden met een enkele stroommeter, hetzij in de retourleiding, hetzij in de aanvoerleiding, aangezien, wanneer er althans geen sprake is van lekkage, de hoeveelheid warm water aan de aanvoerzijde gelijk is aan dat aan de afvoerzijde.

In de uiteindelijke uitvoering zal de QUALITHERM een warmtemeter zijn waarin de besturingseenheid is geïntegreerd, zodat een uiterst compacte en bedrijfszekere aansturing van het verwarmingssysteem tot stand kan worden gebracht.

De bestaande warmtemeters, die momenteel gebruikt worden voro de verrekening van de opgenomen warmte zijn in de regel van hoge nauwkeurigheid en zijn in staat het vermogen met een nauwkeurigheid van ± 1,5% of beter, bij voorkeur zelfs ± 0,5% of beter, te bepalen.
Bij deze hoge nauwkeurigheid is een aantal voordelige wijzen van aansturen van het verwarmingssysteem mogelijk geworden, zoals hierna duidelijk wordt. In de praktijk wordt de berekening van het vermogen in minder dan circa vier seconden uitgevoerd en bedraagt het totaal aantal berekeningen per uur meer dan circa 650. Door het vermogen met de genoemde snelheid te bepalen, kan een adequate aansturing van het verwarmingssysteem op basis van vermogen tot stand worden gebracht.

Andere uitvoeringsvormen

De besturingseenheid kan eveneens voorzien zijn van een luchttemperatuursensor voor het meten van de temperatuur van de omgevingslucht in een ruimte, waarbij de luchttemperatuursensor in communicatieverbinding staat met de besturingseenheid voor het afhankelijk van zowel de gemeten luchttemperatuur als het gemeten vermogen besturen.

De besturingsinrichting stuurt de hoeveelheid warm water via de aanvoerleiding aan met behulp van een open of gesloten, relatief trage regel-lus op basis van de ruimtetemperatuur en met behulp van een tweede regel-lus op basis van het bepaalde vermogen.
De tweede regel-lus is relatief snel (heeft met andere woorden een relatief kleine tijdsconstante) .
Het opwarmen en afkoelen van een ruimte verloopt traag. De warmte-inhoud van gebouw, woning en voorwerpen daarin, is met andere woorden groot in relatie tot het vermogen van de verwarmingselementen. Ook tijdelijke verstoringen zoals invallende zonnestraling, geopende deuren en vensters, wijziging van het aantal in de ruimte aanwezige personen en inschakeling van warmteproducerende apparaten geven temperatuurveranderingen die relatief traag verlopen.

De vermogensmeting en regeling daarentegen heeft een kleine tijdconstante, aangezien het vermogen wordt gemeten in de relatief snelstromende verwarmingsvloeistof.
De besturingseenheid kan voorzien worden van een afstandsbediening die het mogelijk maakt om de temepratuur in één of meer van de ruimtes van het gebouw naar wens te verhogen of verlagen. Er zijn meerdere vormen dekbaar waarop de diverse grootheden in de verschillende ruimten gecontroleerd kan worden.

Toepassing in combinatie met vloerverwarming

Het systeem kan een in de leiding aangesloten circulatiepomp besturen. Daardoor zal de hoeveelheid warm water dat in de vloerverwarming circuleert afhankelijk van het door de warmtemeter bepaalde vermogen, worden geregeld.

Het vloerverwarmingssysteem bervat in deze uitvoering een regelklep alsmede een circulatiepomp met instelbaar pompdebiet, waarbij het pompdebiet afhankelijk van het door de warmtemeter bepaalde vermogen door de besturingseenheid aanstuurbaar is.
Wanneer bij voorbeeld bij vloerverwarming in bepaalde omstandigheden, bijvoorbeeld bij onvoldoende warmteaanvoer vanaf de warmtebron, het geleverde vermogen ontoereikend is, is een circulatiepomp nodig om extra warmte vanaf de warmtebron te betrekken.
Bij een kleine warmtevraag kan de pomp worden stilgezet (de pomp laat dan wel stroming toe door de waaier maar voegt geen pompvermogen toe), bij een groter wordende warmtevraag wordt de circulatiepomp ingeschakeld, waarbij het debiet telkens in stappen met toenemende pompcapaciteit wordt vergroot.
Bij een kleiner wordende warmtevraag kan de capaciteit van de pomp gereduceerd worden. Als men het vermogen (warmte) kent dat het systeem moet leveren, zoals het geval is volgens de uitvinding, is ook bekend hoe hard (dat wil zeggen met welke pompcapaciteit) de circulatiepomp moet draaien.

Bij vloerverwarmingssystemen blijft de voor vloerverwarming noodzakelijk circulatiepomp normaal gesproken continu draaien, hetgeen onnodig en kostbaar is. Door de vermogensregeling wordt het mogelijk gemaakt de pompcapaciteit naar behoefte aan te sturen en zelfs de pomp stil te zetten als dit voor de circulatie niet vereist is.
Door de besturingsinrichting en de circulatiepomp in verscheidene capaciteitsstappen in plaats van alleen op 'aan/uit' aan te sturen, wordt minder elektriciteit gebruikt voor het aansturen van de circulatiepomp en ontstaat een lagere retourtemperatuur.

Bij een verwarmingssysteem aangesloten op een stadsverwarming heeft de gebruiker in de regel geen invloed op de temperatuur van het aangevoerde warme water, zoals wel het geval kan zijn bij een individuele centrale verwarmingsinstallatie.

Nadere uitleg m.b.t. de werking van de QUALITHERM


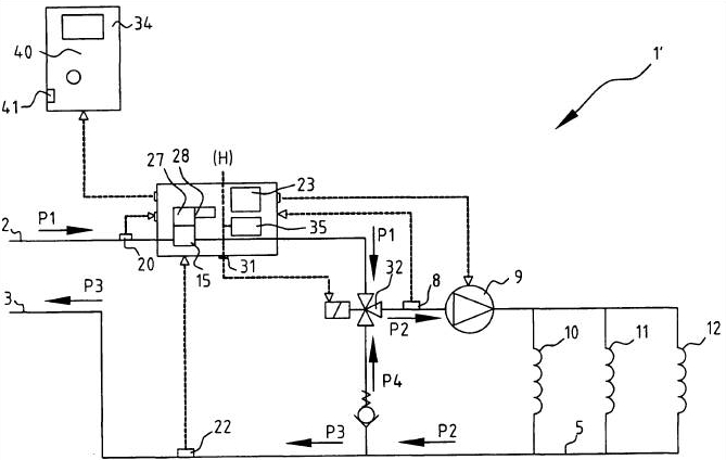
Bovenstaande figuur (1) toont op schematische wijze een vloerverwarmingssysteem
  1. 1. Via een externe warmtebron, zoals een stadsverwarming of een centrale verwarmingsinstallatie (CV), wordt via een warmwateraanvoerbuis 2 warm water aangevoerd in een aanvoerstroom (richting PI)
  2. Het aangevoerde warme water wordt via een regelklepverdeler 32 (in de weergegeven uitvoering een driewegklep) en een circulatiepomp 9 door een aantal in de vloer van de ruimtes van een gebouw aangebrachte leidingen 10, 11, 12 geleid (richting P2 ).
  3. Het warme water doorloopt de leidingen 10-12 en geeft warmte af aan de vloer waarin de leidingen zijn aangebracht.
    De leidingen 10-12 zijn hierbij geplaatst in een aantal in de betonvloer of de daarop voorziene daarvoor aangebrachte sleuven.
  4. Een deel van het inmiddels tenminste gedeeltelijk afgekoelde water van de retourstroom) wordt afgevoerd (richting P3 ) via een afgekoeld-water-afvoerbuis 3 en een ander deel van de retourstroom wordt via de regelklepverdeler 32 gemengd met de aanvoerstroom (richting P4).
  5. In de warmwateraanvoerbuis 2 van het verwarmingssysteem is een warmtemeter 14 voorzien of is althans daarop aangesloten.
    De warmtemeter 14 omvat een in de buis 2 aangebrachte snelheidsmeter (schematisch weergegeven).
    De snelheidsmeter 15 kan van een type zijn waarin de vloeistofwater een waaier in draaiing brengt, welke draaiing gemeten wordt en daarmee een maat geeft voor de snelheid van de vloeistof in de aanvoerleiding
  6. De draaisnelheid wordt gemeten met een snelheidsmeetelement (niet weergegeven) dat is verbonden met een micro controller 19.
  7. Micro controller 19 berekent aan de hand van de gemeten draaisnelheid en een vooraf op de micro controller opgeslagen waarde voor de doorsnede van de aanvoerbuis 2 het momentane debiet (volume per tijdseenheid) van de in de buis 2 stromende vloeistof.
      Andere wijzen van bepaling van de snelheid van de vloeistof in de aanvoerbuis 2 zijn ook mogelijk. Gedacht kan bijvoorbeeld worden aan een meting met ultrageluid of een magnetisch-inductieve meetmethode. Voorts is de warmtemeter 14 aangesloten op een temperatuursensor 20 (schematisch weergegeven) die eveneens in de aanvoerbuis 2 is aangebracht.
  8. De temperatuursensor 20 geeft een signaal af dat representatief is voor de temperatuur van de vloeistof in de aanvoerbuis 2.
    De temperatuursensor 20 is aangesloten op de micro controller 19.
    De micro controller 19 kan aan de hand van het temperatuursignaal van de temperatuursensor 20 en het snelheidssignaal van het snelheidsmeete1ement derhalve het momentane debiet en de daarbij behorende temperatuur van de in de buis stromende vloeistof bepalen. Aan de hand van het debiet en de temperatuur berekent de micro controller 19 het momentane vermogen (energie per tijdseenheid) dat via de warmwateraanvoerbuis 2 het vloerverwarmingssysteem 1 binnenstroomt.
  9. In een andere, in figuur 1 gestippeld weergegeven, uitvoeringsvorm omvat de warmtemeter 14 tevens een tweede temperatuursensor 22 die in de retourbuis 3 is geplaatst. Op soortgelijke wijze als de eerste temperatuursensor 20 is de tweede temperatuursensor 22 verbonden met de micro controller 19 en verschaft aan de micro controller 19 een signaal dat representatief is voor de momentane temperatuur van het water in de afvoerbuis 3. Wanneer er vanuit wordt gegaan dat er geen verlies van water is in het leidingsysteem, is het debiet van het aangevoerde water in de aanvoerbuis 2 onder stationaire omstandigheden gelijk aan het debiet van het afgekoelde water in de retourbuis 3, zodat een aparte debietmeter in de retourbuis 3 achterwege kan blijven.
  10. Voor het berekenen van de geleverde warmte worden in deze uitvoering beide vermogens van elkaar afgetrokken.
    De warmtemeter 14 is voorts voorzien van een LCD beeldscherm 23 waarop op bekende wijze ondermeer het momentaan geleverde vermogen, het over een bepaald tijdsinterval geleverde (geaccumuleerde) vermogen, de aanvoerwatertemperatuur, de afvoerwatertemperatuur, het temperatuurverschil, de waterstroomsnelheid, het momentane debiet in de wateraanvoerbuis etcetera af te lezen is.
  11. De warmtemeter 14 is geschikt voor verrekenings-doeleinden, waarmee wordt bedoeld dat deze voor de leverancier van het warme water bijhoudt hoeveel warmte een gebruiker geleverd heeft gekregen en hoeveel kosten er voor deze levering in rekening kunnen worden gebracht.
    Dergelijke warmtemeters 14 zijn vaak, maar niet altijd, reeds aanwezig in stadsverwarmingssystemen (zowel systemen met individueel warm tapwater als collectief warm tapwater (IWT/CWT) alsmede in appartementen met een gemeenschappelijk CV toestel) .
    De warmtemeter 14 is, bijvoorbeeld via een verbindingsleiding 25 of met behulp van een (niet weergegeven) draadloze verbinding, gekoppeld met een aansluitterminal 29 van een besturingseenheid 26.
    De besturingseenheid 26 is opgebouwd uit een micro controller 27, een aantal geheugens 28, een aansluitterminal 29 ter aansluiting op de warmtemeter 14, een invoerterminal 30 voor aansluiting op de hierna te beschrijven thermostaat 34 en een uitvoerterminal 31 voor aansluiting op een in de aanvoerbuis 2 voorzien regelklepmechanisme 32.
  12. Het regelklepmechanisme 32 is in de aanvoerbuis 2 aangebracht en kan het debiet van het in de aanvoerbuis-2 stromende vloeistof op getrapte wijze of traploos instellen.
    Dergelijke regelkleppen zijn algemeen bekend en een gedetailleerde beschrijving daarvan is derhalve hier weggelaten. De regelklep kan in plaats van in de aanvoerbuis 2 ook in de retourbuis 3 worden aangebracht.
    De functie van de regelklep verandert daardoor niet, maar omdat de gemiddelde temperatuur van het retourwater lager is dan die van het aangevoerde water, kan dit de voorkeur genieten.
  13. Tevens is in de aanvoerbuis 7 van het vloerverwarmingsysteem een temperatuursensor B geplaatst waarmee de temperatuur van het de vloerverwarmingsleidingen in gestuurde water bepaald kan worden. Op soortgelijke wijze als de eerste temperatuursensor 20 is de temperatuursensor B verbonden met de micro controller 19 of de micro controller 29 en verschaft aan de micro controller 19,27 een signaal dat representatief is voor de momentane temperatuur van het water in de buis 7.
  14. De micro controller 27 van de besturingseenheid 26 ontvangt via de invoerterminal 29 een signaal van de warmtemeter 14 dat representatief is voor het op dat moment geleverde vermogen aan het verwarmingssysteem. De microcontrolier 27 ontvangt eveneens via de invoerterminal 30 een signaal van de thermostaat 34. De thermostaat 34 is in een willekeurige ruimte, meestal bijvoorbeeld de woonkamer, van een woning aangebracht en omvat een tempera tuur instel knop 40 waarmee de gebruiker een gewenste temperatuur (Ti) kan instellen.
  15. De thermostaat 34 omvat tevens een temperatuur-sensor 41 waarmee de temperatuur (Tm) van de omgevingslucht van de thermostaat 34 kan worden gemeten. Deze temperatuur is representatief voor de temperatuur in de betreffende ruimte.
    Wanneer er verschil bestaat tussen de door de sensor 41 gemeten temperatuur (Tm) en de ingestelde temperatuur (Ti)' geeft de thermostaat 34 een voor dat verschil representatief signaal af aan de invoerterminal 30 van de besturingseenheid 26.
    Op basis van dit signaal en op basis van het signaal op invoerterminal 29 daarvan, welk signaal representatief is voor het op dat moment bepaalde vermogen, berekent de microcontrolier 27 van de besturingseenheid 26 hoe op een zo energetisch optimaal mogelijke wijze, met een maximaal comfort voor de gebruikers, de ingestelde temperatuur (Ti) bereikt kan worden door het aanpassen van het debiet door de aanvoerbuis 2.
  16. Nadat de besturingseenheid 26 bepaald heeft welk debiet op dat moment wenselijk is, stuurt deze via uitvoerterminal 31 een signaal naar het regelklepmechanisme 32, dat de regelklep in de gewenste stand zet.
    In de getoonde uitvoeringen wordt tevens de circulatiepomp 9 door de besturingseenheid 26 aangestuurd.
    De driewegklep van het klepmechanisme 32 zorgt in deze uitvoering door juiste instelling van de hoeveelheid aangevoerd van warm water van de aanvoerleiding 2 en een juiste menging met het afgekoelde water van de retourleiding in hoofdzaak voor de temperatuur van het door de vloerverwarmingsleidingen stromende water, terwijl de circulatiepomp 9 voor in hoofdzaak het debiet van het water zorgt. In andere uitvoeringen, zoals bijvoorbeeld weergegeven in figuren 4 en 5, stuurt de besturingseenheid alleen het regelklepmechanisme aan, zoals later uiteengezet wordt.
  17. Uit het bovenstaande blijkt, dat de besturingseenheid 26 derhalve het gewenste debiet door de aanvoerbuis 7 bepaalt op basis van zowel het vermogen van het op dat moment aangevoerde water als op de luchttemperatuur van de op te warmen of de koeler te maken ruimte.
    Door de directe koppeling tussen de actuele luchttemperatuur, de gewenste temperatuur en het momentane vermogen kan een uiterst efficiënte aansturing van het verwarmingssysteem tot stand worden gebracht.

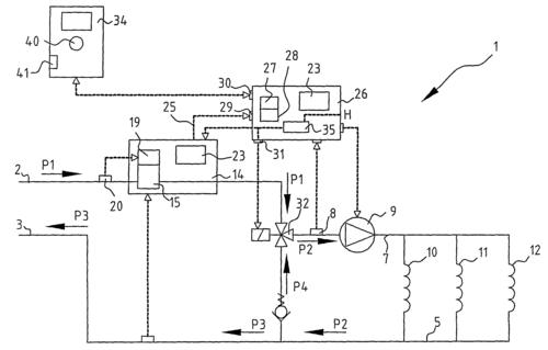
In de in bovenstaande weergegeven uitvoering van het verwarmingssysteem zijn de warmtemeter 14, de besturingseenheid 26 en het regelmechanisme 32 als afzonderlijke onderdelen weergegeven.
Het heeft echter de voorkeur de warmtemeter en de besturingseenheid te integreren tot een geïntegreerde eenheid 17, bijvoorbeeld door deze aan te brengen in een gemeenschappelijke behuizing 18, zoals is weergegeven in onderstaande figuur (2)
Dit kan leiden tot ruimte- en kostenbesparingen.


Figuur 2

In figuren 1 en 2 is weergegeven dat de voeding 35 van zowel de warmtemeter 14, het regelklepmechanisme 32 als de bedieningseenheid 26 gemeenschappelijk is uitgevoerd en wordt geleverd vanuit het huishoudelijk voedingsnet (H).
Optionele regelingen d.m.v. draadloze thermostaat, infrarood verbinding of WiFi zijn mogelijk.
De meest bekende standaard verwarmingssystemen bestaande uit per te verwarmen ruimte een of meer verwarmingselementen, zoals bijvoorbeeld radiatoren, welke zijn voorzien van een thermostaat, alsmede één centrale thermostaat, meestal geplaatst in de woonkamer.
De centrale thermostaat bepaalt de temperatuur in de woonkamer, terwijl de overige thermostaten de temperatuur in de overige ruimtes regelt.
Het bezwaar hiervan is dat de temperatuur in de overige ruimtes normaal gesproken meer zal variëren dan in de woonkamer.
Dit is in sommige gevallen niet de optimale situatie. Wanneer echter gebruik wordt gemaakt van de draagbare thermostaat 36, welke door de gebruiker bij zich wordt gedragen of wordt aangebracht in een houder 37 in één van de ruimtes, kan er voor gezorgd worden dat het systeem telkens geoptimaliseerd blijft in voor die ruimte waar de temperatuur het meest nauwkeurig geregeld dient te worden.
Dit hoeft niet noodzakelijkerwijs de woonkamer te zijn.


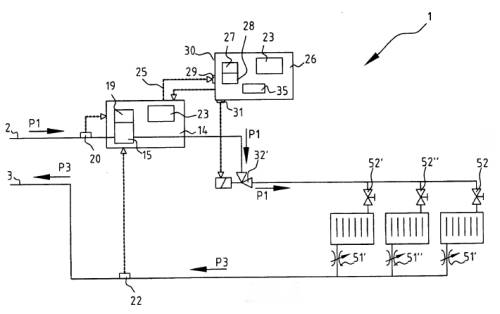
Figuur 3

In figuur 3 is de situatie weergegeven waarin de verwarming plaatsvindt met een aantal radiatoren 50,50' ,50". De werking van de in figuur 3 weergegeven uitvoering komt grotendeels overeen met die van de in figuur 1 weergegeven uitvoering.
Merk op dat er geen sprake is van het terugvoeren van de retourstroom naar de aanvoerstroom. Alle vloeistof die de radiatoren gepasseerd is, wordt via de retourleiding 3 afgevoerd. Dit betekent dat het regelklepmechanisme eenvoudiger kan worden uitgevoerd, bij voorbeeld in de vorm van een instelbare tweewegklep 32'. De radiatoren 50, 50' ,50" zijn voorzien van respectievelijke thermostatische radiatorkranen 52, 52', 52' , .


Figuur 4

In figuur 4 is een uitvoeringsvorm beschreven waarvan de werking in grote lijnen overeenkomt met die van de in figuur 1 weergegeven uitvoering.
In deze uitvoeringsvorm is de centrale thermostaat 34,36 weggelaten en wordt de temperatuur in de ruimten ingesteld door bediening van de thermostatische radiatorkranen 52, 52' ,52", in combinatie met een klokprogramma in de besturingsinrichting voor nachtverlaging.

Voordelen bij situatie stadsverwarming

Een verwarmingsinstallatie bestaande uit een stadsverwarmingsunit en radiatoren moet bijvoorbeeld hydraulisch worden ingeregeld. Daartoe worden de radiatoren voorzien van inregelkleppen 51, 51' ,51".
Deze inregelkleppen krijgen een zekere instelling bij het genoemde inregelen. De inregelkleppen moeten niet verward worden met de (thermostatische) radiatorkranen die worden bediend door de bewoner.
Doordat de regeling volgens de uitvinding gebruik maakt van een warmtemeter waarmee onder andere de stroming nauwkeurig wordt gemeten, kan deze meting gebruikt worden bij het hydraulisch inregelen van de verwarmingsinstallatie. Het inregelen geschiedt als volgt.
De radiatoren worden dichtgedraaid, alleen de in te regelen radiator niet. De radiatorkraan wordt volledig open gezet en de inregelklep wordt zo ingesteld dat de stroming door de aanvoerbuis 2 (welke stroming nauwkeurig wordt gemeten) de gewenst waarde krijgt.

In de warmteverdeelunits die thans op de markt door leveranciers worden aangeboden, vindt de regeling plaats op basis van invoerparameters zoals hydraulische drukverschil en/of watertemperaturen en/of ruimtetemperatuur.
De regeling volgens dze ontwikkeling beschikt over snelle en nauwkeurige metingen van de grootheden aanvoer- en retourtemperatuur van het water, het debiet, het vermogen, en voor de meer verfijnde variant van de regeling, ook de heersende en gewenste ruimtetemperatuur.
Hierdoor is de regeling volgens de onderhavige uitvinding beter in staat dan de huidige regelingen, adequaat te reageren op veranderingen van de instelling van radiatorkranen. Deze veranderingen worden onmiddellijk gedetecteerd en de regeling kan daarop, eveneens onmiddellijk, inspelen.
Doordat het vermogen dat geleverd wordt nauwkeurig wordt gemeten met een warmtemeter, is het mogelijk het vermogen dat geleverd wordt eveneens nauwkeurig te regelen.
Door deze nauwkeurige meting kan ook heel gemakkelijk het vermogen van een unit worden begrensd
Een andere vorm van begrenzing is het begrenzen van de stroming door de eenheid met als doel de stroming door de radiatoren te begrenzen als comfortverhogende maatregel (minder geruis). Door gebruik te maken van de van de warmtemeter afkomstige stroomgegevens, bijvoorbeeld gegevens over het aan de hand van de snelheidsmeter berekende debiet door de aanvoerleiding, kan de maximale stroomsnelheid door de radiatoren vrij exact worden bepaald en worden ingesteld.

Een ander voordeel van de regeling volgens deze ontwikkeling is, dat de zogenaamde nachtverlaging (die veelvuldig wordt toegepast op een relatief snel ruimteverwarmingssysteem met radiatoren) eveneens kan worden toegepast op vloerverwarmingssystemen. Deze laatste systemen
zijn aanzienlijk trager dan systemen met radiatoren, waardoor de vloerverwarming 's nachts meestal aangelaten wordt. De regeling volgens de uitvinding is beter dan de totnogtoe toegepaste regelingen en brengt nachtverlaging bij vloerverwarming in veel gevallen binnen bereik.
In de warmtemeter wordt door integratie in de tijd de geleverde energie bepaald. <.br> Dit wordt gebruikt om, afhankelijk van het aantal uren dat er niet verwarmd is en afhankelijk van het verschil tussen gewenste en werkelijke ruimtetemperatuur, een hogere aanvoertemperatuur te hanteren dan normaliter toegestaan is in verband met de in acht te nemen veiligheidsmarges (de vloer mag bij voorbeeld niet te warm worden, etc). De hogere temperatuur wordt gehandhaafd totdat een nader te bepalen energieniveau dreigt te worden overschreden. Hierdoor nemen de mogelijkheden van nachtverlaging bij vloerverwarming toe hetgeen, ondanks de tijdelijk hogere aanvoertemperatuur, energiebesparend kan zijn.

Alhoewel dit in het voormelde niet direct beschreven is, vormt de warmtapwatervoorziening in de meeste gevallen een integraal onderdeel van het verwarmingssysteem volgens de uitvinding.
Er zijn in hoofdlijn twee soorten warm tapwater voorzieningen. De een is Individueel Warm Tapwater (IWT) waarbij met behulp van bijvoorbeeld een platenwisselaar koud tapwater opgewarmd wordt. De ander is Centraal Warm Tapwater (CWT) waarbij het verbruikte warme tapwater bijvoorbeeld door een warmwatermeter gemeten wordt.
De onderhavige uitvinding is niet beperkt tot de hierin beschreven voorkeursuitvoeringsvormen daarvan. De gevraagde rechten worden veeleer bepaald door de navolgende conclusies, binnen de strekking waarvan velerlei varianten denkbaar zijn.